网络正规PM娱乐城

products

产品中心

产品类别

Category

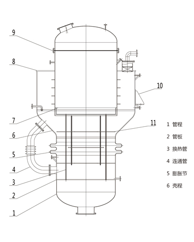
甲醛反应器

扫一扫

浏览我司移动平台

江苏鑫科天建化工设备制造有限公司 版权所有(C)2024 网络支持 著作权声明 网站地图

朗驰娱乐正规信誉(官方)网站/网页版登录入口/手机版登录入口-最新版(已更新) 盛凯国际外围正规导航(官方)网站/网页版登录入口/手机版登录入口-最新版(已更新) 雷火竞技外围最新(官方)网站/网页版登录入口/手机版登录入口-最新版(已更新) PM娱乐城线上足球大全(官方)网站/网页版登录入口/手机版登录入口-最新版(已更新) 盛凯国际最新体育(官方)网站/网页版登录入口/手机版登录入口-最新版(已更新) 雷火竞技真人权威(官方)网站/网页版登录入口/手机版登录入口-最新版(已更新) boyu·博鱼最大知名排名(官方)网站/网页版登录入口/手机版登录入口-最新版(已更新) 网上最新188BET盘口(官方)网站/网页版登录入口/手机版登录入口-最新版(已更新)